
Với thiết kế bền bỉ, hiện đại, đảm bảo hiệu suất ổn định và an toàn.
Mã sản phẩm:
HCF
Thương hiệu:
Robo
Xuất xứ:
Việt Nam
Bảo hành:
12 tháng trên toàn quốc
Tư vấn miễn phí
Giải đáp mọi thắc mắc của khách hàng.
Thanh toán linh hoạt
Thanh toán tiền mặt hoặc chuyển khoản
Van phao Robo là thiết bị điều khiển dòng chảy nước một cách tự động dựa trên mực nước trong bể chứa, hồ chứa hoặc bồn chứa công nghiệp. Với thiết kế chất lượng cao, đạt chuẩn quốc tế, van hoạt động ổn định, bền bỉ và giúp tối ưu hóa quá trình cấp nước, chống tràn, tiết kiệm nguồn lực vận hành.
Van được ứng dụng rộng rãi trong hệ thống cấp nước đô thị, công nghiệp, khu dân cư và nông nghiệp – nơi cần kiểm soát chính xác mực nước tự động mà không cần can thiệp thủ công.
Ưu điểm nổi bật
Van phao Robo được cấu tạo từ nhiều bộ phận chất lượng cao, đảm bảo khả năng hoạt động ổn định, bền bỉ và chống ăn mòn trong môi trường nước.
Van phao Robo có nhiều kích thước từ DN50 đến DN300, phù hợp với nhiều loại đường ống khác nhau. Bảng dưới đây thể hiện kích thước chi tiết theo từng model và tiêu chuẩn áp suất:
Kích thước D và K thay đổi tùy theo tiêu chuẩn PN10 hoặc PN16. Vui lòng chọn đúng chuẩn theo yêu cầu hệ thống để đảm bảo lắp đặt chính xác.
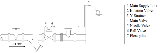
Van phao Robo được thiết kế để kết nối linh hoạt trong hệ thống đường ống cấp nước. Sơ đồ kết nối minh họa rõ ràng các thành phần chính trong quá trình điều tiết dòng chảy:
Sơ đồ này cho thấy van phao Robo hoạt động theo nguyên lý điều khiển thủy lực gián tiếp, thông qua sự thay đổi mực nước trong bể để điều khiển van pilot, từ đó tác động lên van chính.
Việc lắp đặt van phao Robo cần tuân theo một số nguyên tắc cơ bản nhằm đảm bảo hiệu quả vận hành, độ nhạy mực nước và độ bền của hệ thống.
Các bước và cấu hình điển hình:
Lưu ý khi lắp đặt:
Để đặt hàng đúng chủng loại van phao Robo, người dùng cần nắm rõ cách mã hóa sản phẩm theo cấu trúc sau:
Ví dụ:
Việc sử dụng đúng mã đặt hàng giúp đảm bảo van được sản xuất và cung cấp đúng theo yêu cầu kỹ thuật, giảm thiểu sai sót trong lắp đặt và vận hành thực tế. Nếu cần thêm tư vấn lựa chọn model phù hợp, đội ngũ kỹ thuật Robo luôn sẵn sàng hỗ trợ.








