
Mã sản phẩm:
SCV
Thương hiệu:
Robo
Xuất xứ:
Việt Nam
Bảo hành:
12 tháng trên toàn quốc
Tư vấn miễn phí
Giải đáp mọi thắc mắc của khách hàng.
Thanh toán linh hoạt
Thanh toán tiền mặt hoặc chuyển khoản
Van một chiều lò xo Robo là thiết bị được thiết kế để cho phép dòng chất lỏng hoặc khí chỉ chảy theo một hướng duy nhất, ngăn chặn hiện tượng chảy ngược trong hệ thống đường ống. Sản phẩm sử dụng cơ chế lò xo hồi về để đảm bảo đóng kín ngay khi dòng chảy ngừng hoặc đảo chiều, giúp bảo vệ thiết bị và duy trì áp suất ổn định trong hệ thống.
Với cấu tạo chắc chắn, khả năng đóng mở nhanh chóng và độ bền cao, van một chiều lò xo Robo phù hợp lắp đặt trong các hệ thống cấp thoát nước, xử lý nước, HVAC, hệ thống phòng cháy chữa cháy và các ứng dụng công nghiệp đa dạng khác.
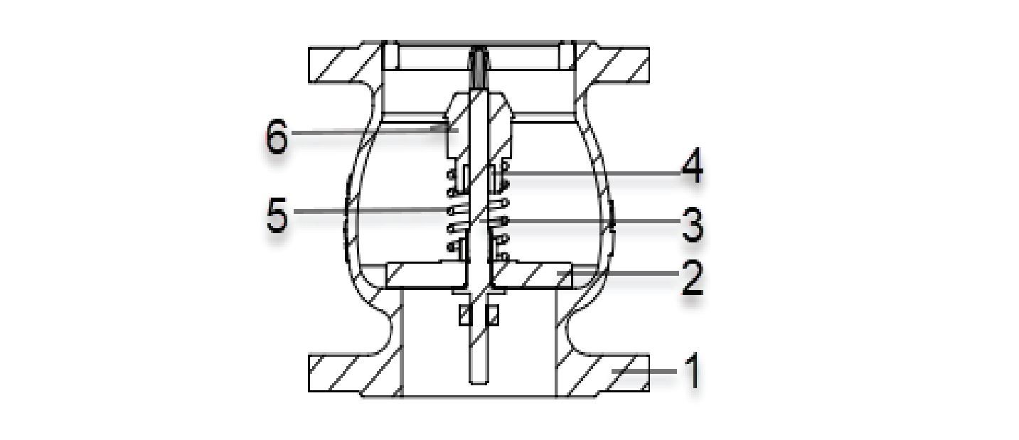
Van một chiều lò xo Robo được cấu tạo từ nhiều bộ phận chính, mỗi bộ phận được lựa chọn vật liệu phù hợp để đảm bảo độ bền, khả năng chống ăn mòn và vận hành ổn định. Dưới đây là danh sách chi tiết các bộ phận cùng vật liệu chế tạo:
Ghi chú:
Cấu tạo hợp lý cùng vật liệu chất lượng cao giúp van một chiều lò xo Robo hoạt động hiệu quả trong nhiều điều kiện làm việc khác nhau, đặc biệt là trong các hệ thống cấp nước, phòng cháy chữa cháy và hệ thống công nghiệp.
Van một chiều lò xo Robo được thiết kế với nhiều kích cỡ khác nhau để phù hợp với các hệ thống đường ống từ nhỏ đến lớn. Bảng dưới đây thể hiện đầy đủ thông số kích thước theo từng size danh định (DN), bao gồm chiều dài (L), đường kính mặt bích (D), khoảng cách tâm lỗ bulong (K), số lượng và đường kính lỗ bulong (n-Ød), cùng độ dày mặt bích (C) theo tiêu chuẩn PN10 và PN16:
Với thiết kế đa dạng về kích thước và tuân thủ nghiêm ngặt các tiêu chuẩn kết nối quốc tế, van một chiều lò xo Robo dễ dàng tích hợp vào nhiều hệ thống đường ống công nghiệp, đảm bảo khả năng vận hành ổn định và an toàn.
Sơ đồ kết nối van một chiều lò xo Robo thể hiện cấu trúc hình học và các thông số kỹ thuật quan trọng giúp người dùng dễ dàng lắp đặt van vào hệ thống đường ống. Van được thiết kế dạng mặt bích hai đầu, phù hợp với các tiêu chuẩn kết nối như BS4504, DIN 2632, DIN 2633.
Van được thiết kế với kiểu kết nối mặt bích hai đầu, cho phép lắp đặt dễ dàng, chính xác và chắc chắn giữa hai đoạn ống.
Lưu ý khi lắp đặt:
Để thuận tiện cho việc lựa chọn và đặt hàng sản phẩm, van một chiều lò xo Robo được mã hóa theo định dạng chuẩn giúp người dùng dễ dàng nhận biết các thông số kỹ thuật cơ bản của van. Cấu trúc mã sản phẩm được thể hiện như sau:
① SCV – Ký hiệu sản phẩm:
SCV là viết tắt của Silent Check Valve – van một chiều lò xo dạng kín, hoạt động êm, chống va đập thủy lực.
② 100 – Kích thước van:
(Có thể mở rộng cho các size khác như DN65, DN80, DN125, v.v. theo bảng kích thước)
③ 16 – Áp suất làm việc (Pressure Rating):
④ D – Vật liệu thân van:
D: Gang cầu (Ductile Iron) – chịu lực và chống ăn mòn tốt, phù hợp với nhiều loại môi trường chất lỏng.
⑤ B – Màu sơn bên ngoài:
Ví dụ:
SCV-100-16DB
→ Van một chiều lò xo DN100, áp suất PN16, thân van bằng gang cầu, sơn màu xanh.