
Mã sản phẩm:
DCV
Thương hiệu:
Robo
Xuất xứ:
Việt Nam
Bảo hành:
12 tháng trên toàn quốc
Tư vấn miễn phí
Giải đáp mọi thắc mắc của khách hàng.
Thanh toán linh hoạt
Thanh toán tiền mặt hoặc chuyển khoản
Van một chiều lá lật Robo là thiết bị dùng để cho phép dòng chảy đi qua theo một chiều và ngăn chặn dòng chảy ngược, bảo vệ hệ thống đường ống và thiết bị khỏi hiện tượng chảy ngược không mong muốn. Thiết kế kiểu lá lật giúp van vận hành êm ái, đóng mở nhanh chóng và giảm thiểu tổn thất áp suất trong quá trình sử dụng. Van thường được ứng dụng trong các hệ thống cấp thoát nước, PCCC, HVAC và các hệ thống xử lý chất lỏng công nghiệp.
Với thân van được chế tạo từ vật liệu chất lượng cao, cùng thiết kế đạt chuẩn quốc tế, van một chiều lá lật Robo đảm bảo độ bền cao, hoạt động ổn định và dễ dàng bảo trì, lắp đặt.
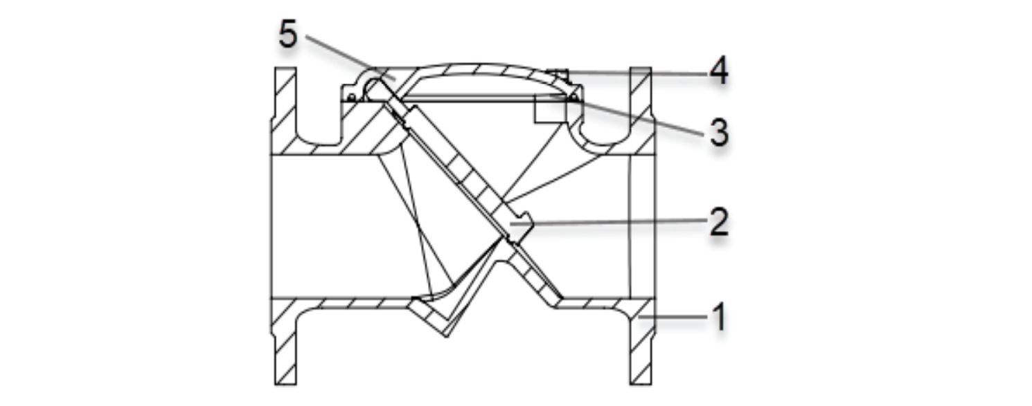
Van một chiều lá lật Robo được cấu tạo từ nhiều bộ phận với chất liệu chuyên dụng nhằm đảm bảo độ bền, khả năng chống ăn mòn và hiệu suất hoạt động cao trong môi trường công nghiệp. Dưới đây là danh sách chi tiết các bộ phận và vật liệu cấu tạo của van:
Giải thích thêm:
Cấu tạo hợp lý với vật liệu chất lượng cao giúp van một chiều lá lật Robo hoạt động ổn định, tuổi thọ cao và phù hợp với nhiều hệ thống đường ống khác nhau.
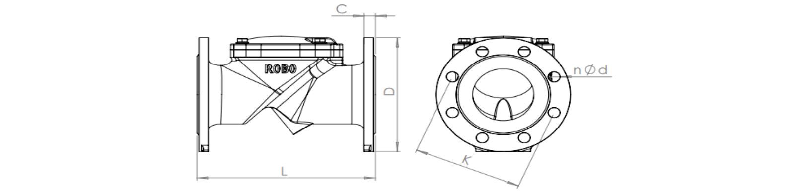
Van một chiều lá lật Robo được thiết kế đa dạng kích thước từ DN50 đến DN300, phù hợp cho nhiều loại đường ống và yêu cầu lắp đặt khác nhau. Mỗi kích thước van đều có các thông số kỹ thuật cụ thể về chiều dài (L), đường kính mặt bích (D), khoảng cách tâm lỗ bulong (K), số lượng và đường kính lỗ bulong (n-Ød), và độ dày mặt bích (C). Dưới đây là bảng kích thước chi tiết:
Giải thích thông số:
Với thiết kế đa dạng kích thước và tuân thủ các tiêu chuẩn kết nối quốc tế, van một chiều lá lật Robo dễ dàng tích hợp trong nhiều hệ thống công nghiệp, giúp tiết kiệm chi phí và thời gian lắp đặt.
Sơ đồ này đặc biệt quan trọng trong các hệ thống yêu cầu độ chính xác cao như hệ thống cấp nước, phòng cháy chữa cháy, HVAC, hoặc hệ thống xử lý công nghiệp.
Lắp đặt van một chiều lá lật Robo trong hệ thống đường ống, đảm bảo van hoạt động đúng chức năng cho phép dòng chảy theo một chiều và ngăn dòng chảy ngược.
Hướng dẫn lắp đặt cơ bản:
1. Xác định đúng chiều dòng chảy:
2. Lắp đặt nằm ngang:
3. Đảm bảo mặt bích phẳng và sạch:
4. Xiết bu lông đều và đúng lực:
Xiết bu lông theo kiểu hình sao (đối xứng) để phân bổ lực đều lên mặt bích, giúp ngăn rò rỉ và giữ kín hệ thống.
5. Không lắp ngược đứng đầu – đuôi hoặc ngược chiều:
Van không thích hợp để lắp đứng ngược đầu do trọng lực ảnh hưởng đến cơ chế đóng mở của đĩa van.
Lưu ý khi vận hành:
Để lựa chọn và đặt hàng đúng mã van một chiều lá lật Robo, khách hàng cần hiểu rõ cấu trúc mã sản phẩm được quy định theo định dạng: DCV-XXX-YYDZ
Ví dụ: DCV-100-16DB
Thông tin mã hóa này giúp đơn giản hóa quá trình đặt hàng, đảm bảo lựa chọn đúng sản phẩm phù hợp với nhu cầu kỹ thuật và tiêu chuẩn lắp đặt trong hệ thống. Khi liên hệ mua hàng, khách hàng chỉ cần cung cấp đúng mã sản phẩm theo cấu trúc trên để được tư vấn và giao hàng chính xác.