Van hút Robo

Mã sản phẩm:

SFV

Thương hiệu:

Robo

Xuất xứ:

Việt Nam

Bảo hành:

12 tháng trên toàn quốc

Tư vấn miễn phí

Giải đáp mọi thắc mắc của khách hàng.

Thanh toán linh hoạt

Thanh toán tiền mặt hoặc chuyển khoản

Thông tin sản phẩm

Van hút Robo là thiết bị quan trọng trong hệ thống đường ống cấp nước, có chức năng hút không khí vào bên trong đường ống khi xảy ra hiện tượng chân không nhằm ngăn chặn tình trạng sập ống hoặc gián đoạn dòng chảy. Với thiết kế bền bỉ, khả năng hoạt động ổn định và hiệu quả cao, van hút Robo là lựa chọn tin cậy cho các công trình cấp thoát nước đô thị, nhà máy xử lý nước và hệ thống bơm công nghiệp.

Thông số kỹ thuật van hút Robo

  • Design and Manufacture / Tiêu chuẩn thiết kế : BS EN 1074-3
  • Connection End / Kiểu kết nối : BS4504, DIN 2632, DIN 2633
  • Pressure rating / Áp suất làm việc : PN10/16, JIS10K
  • Working temp / Nhiệt độ làm việc : -10 ~ 80◦C

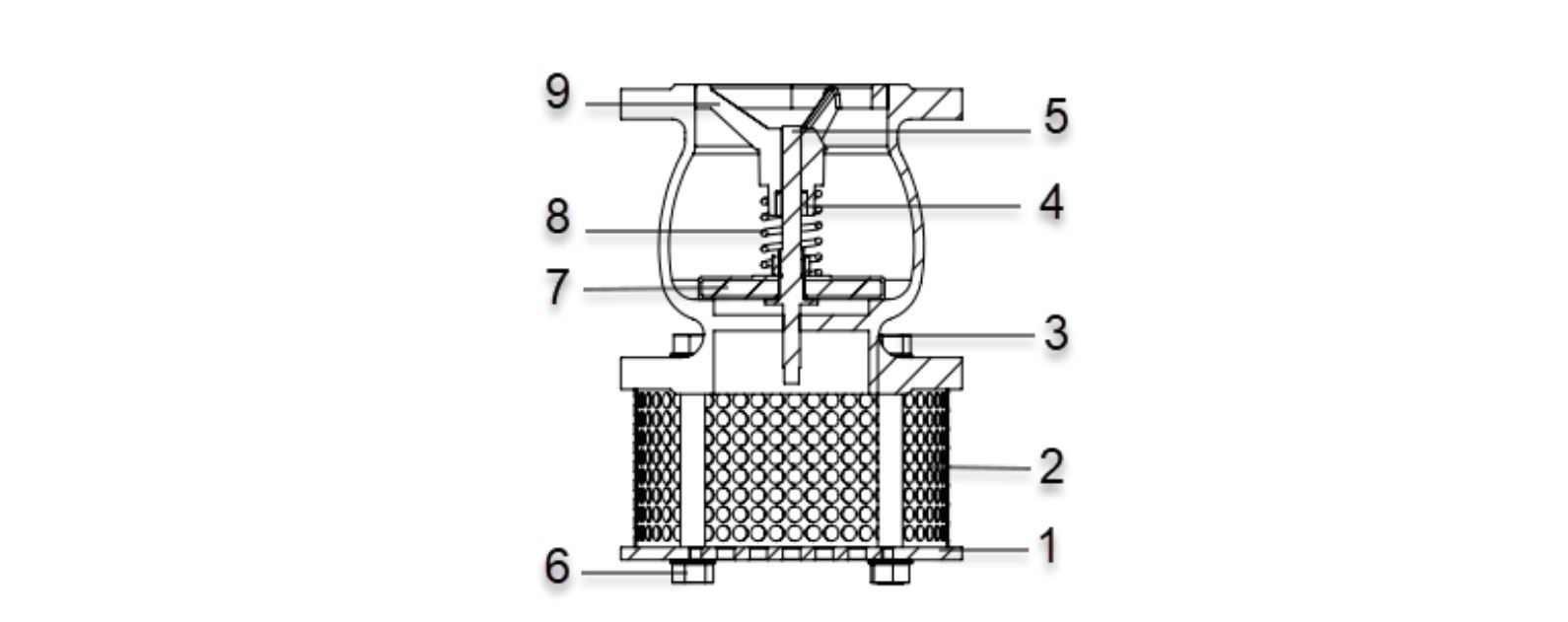
Danh sách các bộ phận và vật liệu van hút Robo

Van hút Robo được cấu tạo từ nhiều bộ phận cơ khí chính xác, được sản xuất từ các vật liệu cao cấp nhằm đảm bảo độ bền, khả năng chống ăn mòn và hoạt động ổn định trong thời gian dài. Dưới đây là bảng liệt kê chi tiết các bộ phận cấu thành van hút Robo kèm theo vật liệu và tiêu chuẩn tương ứng:

Đặc điểm nổi bật:

  • Các bộ phận tiếp xúc trực tiếp với môi trường nước như trục, lò xo, lưới lọc đều được làm từ inox 304 giúp tăng khả năng chống ăn mòn.
  • Đĩa van kết hợp giữa gang cầu và cao su EPDM đảm bảo độ kín tốt và hoạt động linh hoạt.
  • Thiết kế lưới lọc giúp ngăn rác thải xâm nhập vào hệ thống, bảo vệ máy bơm và tăng tuổi thọ cho toàn bộ hệ thống.

Kích thước van hút Robo

Van hút Robo được sản xuất đa dạng về kích thước, phù hợp với nhiều quy mô công trình khác nhau. Dưới đây là chi tiết thông số kích thước giúp quý khách lựa chọn phù hợp nhu cầu sử dụng:

  • Phù hợp nhiều quy mô công trình từ dân dụng, công nghiệp nhẹ, nhà máy nước sạch, trạm bơm, hệ thống tưới tiêu, cho đến công trình quy mô lớn.
  • Tiêu chuẩn kết nối PN10/PN16 giúp dễ tích hợp với hệ thống đường ống hiện có. 
  • Kích thước được gia công chính xác, đảm bảo độ kín tuyệt đối, vận hành hiệu quả trong mọi điều kiện.

Sơ đồ kết nối van hút Robo

Van hút Robo được thiết kế theo dạng mặt bích, giúp kết nối dễ dàng, nhanh chóng, chắc chắn trên hệ thống đường ống.

  • Được chế tạo theo tiêu chuẩn quốc tế, đảm bảo kết nối dễ dàng, chắc chắn.
  • Kiểu kết nối mặt bích giúp thao tác lắp đặt, thay thế nhanh gọn, không cần nhiều công đoạn chỉnh sửa.
  • Sơ đồ kết nối được tối ưu để van hút đạt hiệu suất cao nhất, phù hợp với nhiều điều kiện làm việc khác nhau trong hệ thống đường ống.

Lắp đặt van hút Robo

Van hút Robo được thiết kế để lắp trên hệ thống đường ống hút, giúp ngăn chặn hiện tượng chân không trong đường ống khi máy bơm dừng hoạt động. Việc lắp đặt đúng kỹ thuật sẽ giúp van vận hành hiệu quả, đạt độ bền cao và phát huy hết công năng.

  • Van hút Robo giúp duy trì dòng chảy ổn định, ngăn chặn tác động của hiện tượng chân không trong hệ thống.
  • Hạn chế thiệt hại do tác động chân không hay không khí xâm nhập vào đường ống.
  • Khi được lắp đặt đúng cách, van hút Robo phát huy hiệu suất cao, giúp tiết kiệm chi phí bảo trì, thay thế.

Lưu ý:

  • Kiểm tra van hút định kỳ để vệ sinh lưới lọc, giúp duy trì hiệu suất cao nhất.
  • Khi lắp đặt, cần tuân thủ đúng hướng dòng chảy được chỉ rõ trên van.

Thông tin đặt hàng van hút Robo

Khi đặt hàng van hút Robo, cần xác định rõ các thông tin cơ bản trong mã hiệu để chọn đúng sản phẩm phù hợp nhu cầu sử dụng. Ví dụ về mã hiệu:

Ví dụ khi đặt hàng:

  • SFV-100-16DB: Van hút DN100, áp lực PN16, gang cầu, sơn xanh (Blue)
  • SFV-050-10DR: Van hút DN50, áp lực PN10, gang cầu, sơn đỏ (Red)
Sản phẩm khác