Kính quan sát dòng chảy Robo

Mã sản phẩm:

SGX

Thương hiệu:

Robo

Xuất xứ:

Việt Nam

Bảo hành:

12 tháng trên toàn quốc

Tư vấn miễn phí

Giải đáp mọi thắc mắc của khách hàng.

Thanh toán linh hoạt

Thanh toán tiền mặt hoặc chuyển khoản

Thông tin sản phẩm

Kính quan sát dòng chảy Robo là thiết bị chuyên dụng được sử dụng để quan sát trực tiếp lưu lượng và trạng thái dòng chất lỏng bên trong đường ống. Sản phẩm được ứng dụng rộng rãi trong hệ thống cấp thoát nước, nhà máy xử lý nước, hệ thống PCCC và các công trình công nghiệp cần kiểm soát lưu lượng chất lỏng một cách trực quan và tức thì.

Đặc điểm nổi bật

  • Tầm nhìn rõ ràng, dễ dàng kiểm tra trạng thái dòng chảy
  • Chịu được áp suất và nhiệt độ làm việc ổn định
  • Dễ dàng lắp đặt và bảo trì
  • Vật liệu bền bỉ, chống ăn mòn tốt

Ứng dụng thực tiễn kính quan sát dòng chảy Robo

Kính quan sát dòng chảy Robo thường được lắp đặt trong các hệ thống như:

  • Hệ thống cấp nước sinh hoạt và công nghiệp
  • Hệ thống phòng cháy chữa cháy (PCCC)
  • Hệ thống lọc nước và xử lý nước thải
  • Nhà máy hóa chất, thực phẩm, dược phẩm
  • Đường ống giám sát chất lỏng trong quy trình sản xuất

Thông số kỹ thuật kính quan sát dòng chảy Robo

  • Connection End/Kiểu kết nối: BS21
  • Pressure rating/Áp suất làm việc: PN16
  • Working temp/Nhiệt độ làm việc: -10◦C ∼80◦C
  • Application/Môi trường sử dụng: Water

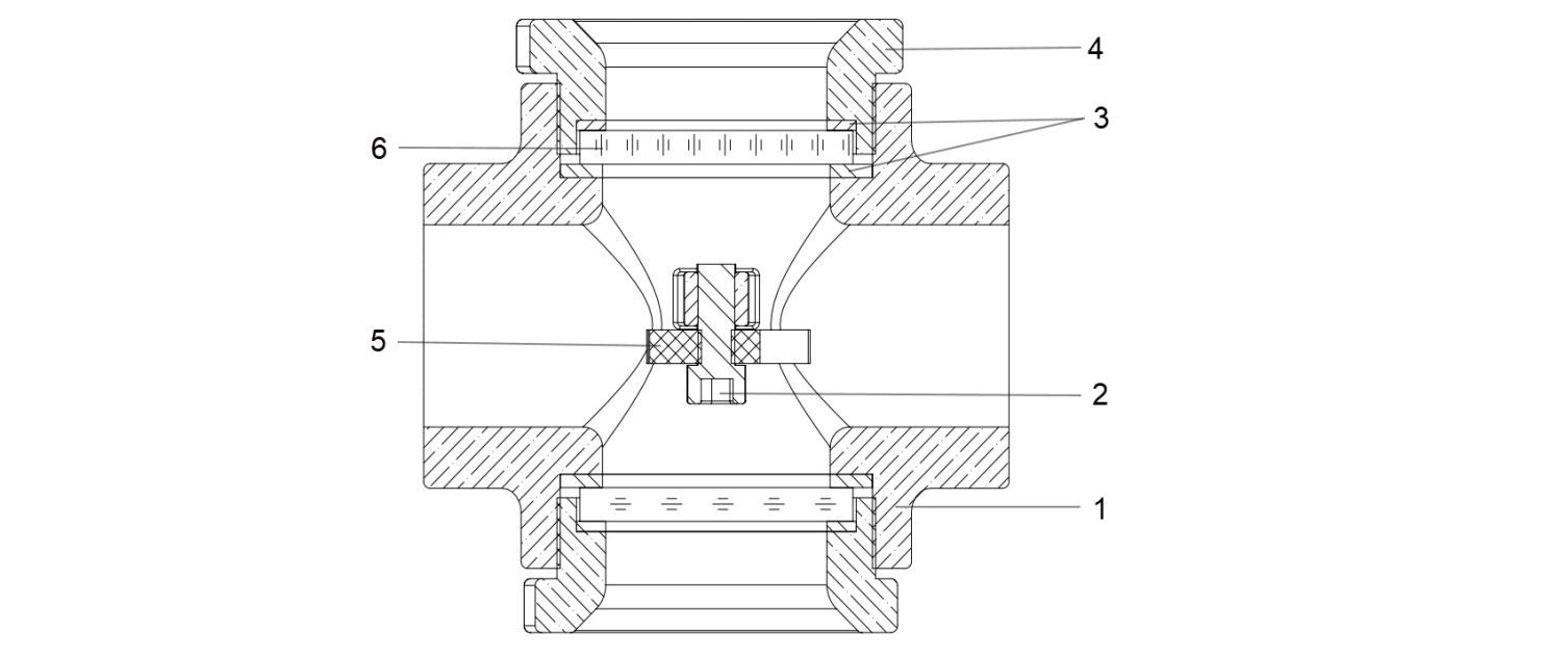
Danh sách các bộ phận và vật liệu kính quan sát dòng chảy Robo

Kính quan sát dòng chảy Robo được cấu thành từ 6 bộ phận chính, mỗi bộ phận đảm nhiệm một chức năng cụ thể nhằm đảm bảo hoạt động giám sát dòng chảy ổn định, bền bỉ và chính xác trong môi trường nước. Dưới đây là chi tiết cấu tạo và vật liệu từng bộ phận:

  • Body (Thân van): Là phần chính bao quanh toàn bộ hệ thống kính, chịu áp lực dòng chảy và lực cơ học trong quá trình vận hành.
  • Hex Head Bolt (Bu-lông lục giác): Giúp cố định nắp kính với thân van, đảm bảo độ kín khít và an toàn.
  • Gasket (Gioăng): Làm kín giữa các bề mặt tiếp giáp, ngăn ngừa rò rỉ chất lỏng, đặc biệt quan trọng với môi trường nước có áp lực.
  • Cap (Nắp): Bảo vệ phần trên của kính, hỗ trợ cố định kính quan sát và dễ dàng tháo lắp khi cần bảo trì.
  • Propeller (Cánh quay): Chuyển động theo dòng chảy, giúp người vận hành dễ dàng nhận biết lưu lượng và hướng dòng chảy.
  • Glass (Kính quan sát): Làm từ kính cường lực trong suốt, giúp quan sát rõ dòng chảy bên trong, chịu được áp lực và nhiệt độ cao.

Kích thước kính quan sát dòng chảy Robo

Kính quan sát dòng chảy Robo được thiết kế với nhiều kích cỡ khác nhau, đáp ứng đa dạng yêu cầu lắp đặt trong các hệ thống đường ống có đường kính danh định từ DN15 đến DN50. Mỗi kích cỡ có thông số riêng về chiều dài (L), chiều cao (H), và chiều rộng (W) như sau:

Ghi chú:

  • L (Length): Chiều dài tổng thể của thân kính.
  • H (Height): Chiều cao từ đáy lên đỉnh nắp kính.
  • W (Width): Chiều rộng ngoài cùng theo trục kính.
  • Các chuẩn NPT phù hợp với hệ thống ren tiêu chuẩn quốc tế, thuận tiện cho việc kết nối nhanh chóng và kín khít.

Thông tin đặt hàng kính quan sát dòng chảy Robo

Để đặt hàng đúng chủng loại kính quan sát dòng chảy Robo, khách hàng cần xác định mã sản phẩm theo cấu trúc tiêu chuẩn như sau:

Lưu ý khi đặt hàng:

  • Vui lòng cung cấp đầy đủ mã theo cấu trúc trên để đảm bảo lựa chọn đúng sản phẩm.
  • Tùy theo yêu cầu dự án, khách hàng có thể liên hệ để đặt các size khác như DN15, DN32, DN40, DN50…
  • Robo hỗ trợ tư vấn kỹ thuật để chọn đúng chuẩn áp lực và vật liệu phù hợp với hệ thống của bạn.
Sản phẩm khác